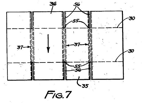
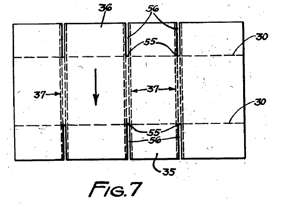
При работе секции высечки-биговки ножи верхней головки предпочтительно установлены диаметрально противоположно друг другу и расположены таким образом на расстоянии по отношению к ширине заготовки в направление движения заготовки. Когда каждая заготовка подается между головками, противоположные части каждой заготовки будут иметь прорези внутрь, как показано на рисунке 7, и в то же время заготовки будут сгибаться благодаря бигованию (37).

В традиционной форме заготовки коробки, например, показанной на рисунке 7, используются три набора комбинированных биговальных и высекательных головок, поскольку каждая пара прорезей и соответствующие им складки требуют одного полного набора таких головок. Головки на валах имеют аксиальную регулировку, при этом расстояние между пазами в направлении вдоль заготовки может изменяться в соответствии с заготовками любого размера. Диаметры двух головок таковы, что при каждом их обороте заготовка проходит между ними и имеет прорези на передней и задней кромках, как показано на рисунке 7. Регулировка ножа по окружности позволяет быстро регулировать расстояние между головками.
Каждая заготовка также снабжена идущими в поперечном направлении складками (30), которые пересекают внутренние концы прорезей, вырезанных в заготовках, как показано на рисунке 7, и которые определяют высоту коробки при подготовке к использованию. Сгибы (30) обычно формируются в ходе отдельной операции на машине другого типа либо до, либо после того, как заготовки прорезаются и сгибаются параллельно направлению движения через высекательную машину.

В традиционной форме заготовки коробки, например, показанной на рисунке 7, используются три набора комбинированных биговальных и высекательных головок, поскольку каждая пара прорезей и соответствующие им складки требуют одного полного набора таких головок. Головки на валах имеют аксиальную регулировку, при этом расстояние между пазами в направлении вдоль заготовки может изменяться в соответствии с заготовками любого размера. Диаметры двух головок таковы, что при каждом их обороте заготовка проходит между ними и имеет прорези на передней и задней кромках, как показано на рисунке 7. Регулировка ножа по окружности позволяет быстро регулировать расстояние между головками.
Каждая заготовка также снабжена идущими в поперечном направлении складками (30), которые пересекают внутренние концы прорезей, вырезанных в заготовках, как показано на рисунке 7, и которые определяют высоту коробки при подготовке к использованию. Сгибы (30) обычно формируются в ходе отдельной операции на машине другого типа либо до, либо после того, как заготовки прорезаются и сгибаются параллельно направлению движения через высекательную машину.