1. Функция ротационной высекальной машины для гофрированного картона и коробок
Роторная высекальная машина предназначена для приема листов гофрированного картона и обрезки листов гофрированного картона. Кроме того, ротационная высекальная машина предназначена для резки, надреза и, в некоторых случаях, удаления отходов с участков картона. В конечном итоге гофрированный картон подготавливают таким образом, чтобы когда лист выходил из ротационной высекальной машины, продукту можно было легко придать конфигурацию коробки.

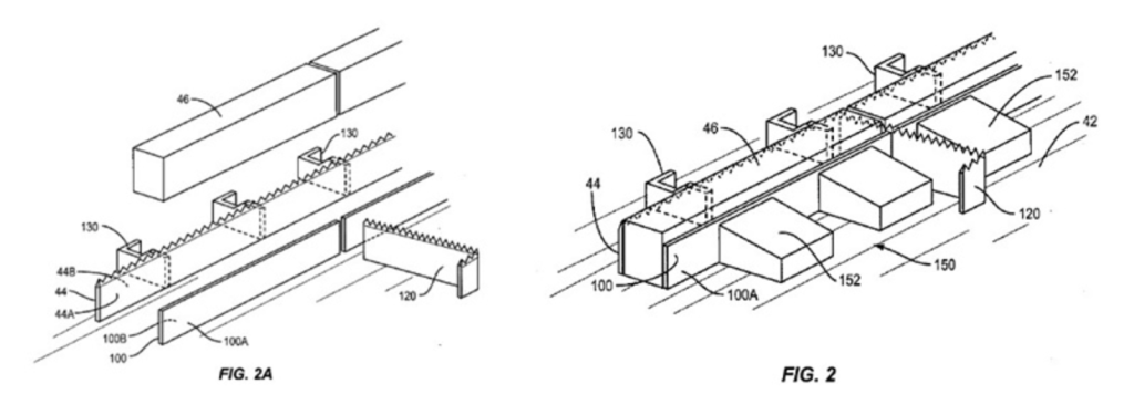
30. Ротационная высекальная машина 40. Цилиндр высечки 42. Высекальный штамп 44. Лезвия для обрезки боковой кромки 46. Съемник обрезков 50. Уретановый вал 52. Покрытие 100. Фиксатор
2. Цилиндр для высечки
Цилиндр для высечки предназначен для приема и удерживания печатной формы, при этом печатная форма расположена относительно полиуретанового вала так, что между ними образуется захват. Гофрированный картон подается через захват, гофрированный картон захватывается матрицей, которая обрезает, разрезает и надрезает гофрированный картон. Режущая матрица обычно изготавливается из ламинированной фанеры и включает в себя комбинацию режущих лезвий, биговальных головок, устройств, удаляющих отходы после высечки, счетчика-эжектора и др.
3. Функция полиуретанового вала
Полиуретановый вал обычно окружен или покрыт поверхностным слоем или покрытием из относительно податливого материала, такого как уретан, который обеспечивает опорную поверхность, по которой можно производить рез, не повреждая различные компоненты, находящиеся на матрице. Таким образом, во время нормальной работы полиуретановый вал, как правило, вращается синхронно с соседним цилиндром для высечки.

4. Лезвия для обрезки боковой кромки ротационной высекальной машины
Штамповочная форма включает в себя ряд ножей для высечки, которые надежно закреплены в штамповочной матрице так, что режущие кончики лезвий выступают и проходят в целом наружу и в сторону от поверхности цилиндра штамповочной матрицы. Лезвия для обрезки боковой кромки обычно проходят вокруг области штамповочной формы. Например, лезвия для обрезки боковой кромки включают в себя одно или несколько ведущих лезвий, таких как показано на рис. 2 и 2А.
Лезвия для обрезки боковой кромки отрезают небольшие кусочки с внешнего края гофрированного картона. В результате всех этих манипуляций заготовка гофрированного картона превращается в продукт.
5. Устройство для удаления обрезков
Устройство для удаления обрезков расположено рядом с лезвиями для обрезки боковой кромки, с внешней стороны лезвий для обрезки боковой кромки. Оно предназначено для захвата отрезанных частей гофрокартона и отделения от основной части заготовки из гофрокартона. Устройства для удаления обрезков могут принимать различные формы. Они обычно изготавливаются из упругого материала, например, уретана, имеющего имеющий твердость 85 по шкале Шора и плотность примерно 45 г/см3.
6. Процесс ротационной высечки
В обычных вращающихся режущих штампах устройства для удаления обрезков имеют тенденцию прогибаться. Когда штамповочная форма вращается и съемники обрезков прижимают обрезки, а также соединяются с полиуретановым валом, съемники обрезков имеют тенденцию прогибаться, оставляя зазор между устройством для удаления обрезков и внешней стороной лезвий для обрезания кромки. Это приводит к тому, что внутренняя сторона устройства для удаления обрезков отходит от соседнего лезвия для обрезки кромки. Часто в результате этого между лезвием для обрезки кромки и устройством для удаления обрезков остается зазор. Со временем небольшие кусочки обрезков имеют тенденцию застревать между лезвием для обрезки кромки и соседним съемником обрезков. Это приводит к тому, что к лезвию и, в конечном итоге, к форме прикладывают значительные силы, что часто приводит к повреждению штампа.
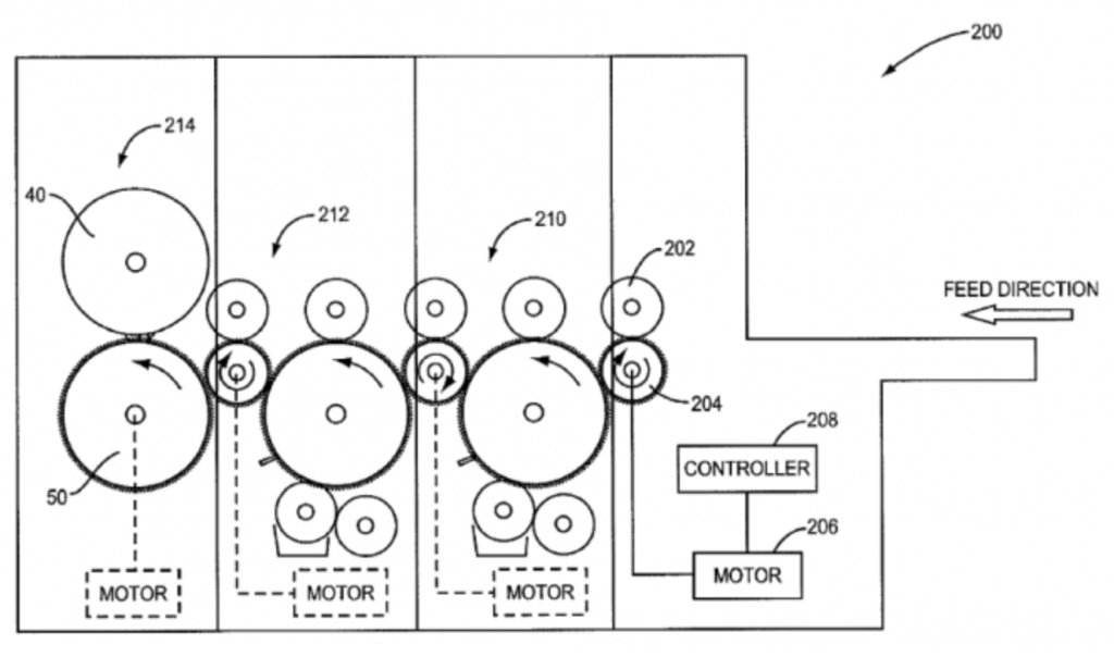
Машина для флексографической печати и высечки

202.204 валы 210.первая станция печати 212.вторая станция печати 214.станция высечки
Машина для флексографской печати и высечки используется для печати и высечки гофрированного картона и включает в себя три основные рабочие станции. После второй станции печати расположена станция высечки. Станция высечки включает в себя ротационную высечку: поворотный цилиндр, опорный цилиндр и высекальный штамп. Выше первой печатной станции находится пара валовов. Вал 204 приводится в движение двигателем, управляемым через контроллер. Вал 204 имеет связанную с ним шестерню, которая эффективно приводит в движение компоненты первой станции печати. Первая станция печати включает в себя зубчатую сеть, которая приводит в движение вторую станцию печати, которая также имеет зубчатую сеть, управляющую высечкой.
Рабочий процесс флексографической печатной машины и высекальной машины
Гофрированный картон подается в захват между валами и проходит через станцию высечки, как правило, горизонтально. При этом печатные формы, переносимые печатными валами первой и второй печатных станций, печатают знаки, рисунки и т.д. на проходящем гофрированном картоне. Как только гофрированный картон покидает вторую станцию печати, он поступает на станцию высечки, а высекальный штамп и элементы на нем обрезают гофрированный картон, превращая его в готовый продукт.
Роторная высекальная машина предназначена для приема листов гофрированного картона и обрезки листов гофрированного картона. Кроме того, ротационная высекальная машина предназначена для резки, надреза и, в некоторых случаях, удаления отходов с участков картона. В конечном итоге гофрированный картон подготавливают таким образом, чтобы когда лист выходил из ротационной высекальной машины, продукту можно было легко придать конфигурацию коробки.

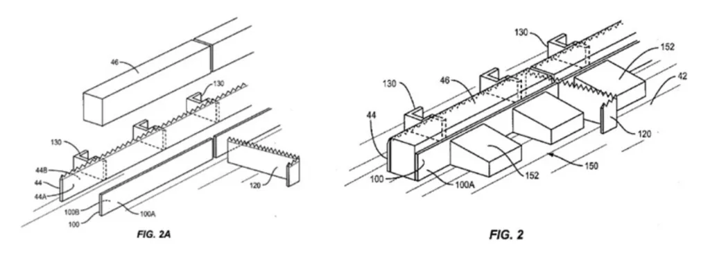
30. Ротационная высекальная машина 40. Цилиндр высечки 42. Высекальный штамп 44. Лезвия для обрезки боковой кромки 46. Съемник обрезков 50. Уретановый вал 52. Покрытие 100. Фиксатор
2. Цилиндр для высечки
Цилиндр для высечки предназначен для приема и удерживания печатной формы, при этом печатная форма расположена относительно полиуретанового вала так, что между ними образуется захват. Гофрированный картон подается через захват, гофрированный картон захватывается матрицей, которая обрезает, разрезает и надрезает гофрированный картон. Режущая матрица обычно изготавливается из ламинированной фанеры и включает в себя комбинацию режущих лезвий, биговальных головок, устройств, удаляющих отходы после высечки, счетчика-эжектора и др.
3. Функция полиуретанового вала
Полиуретановый вал обычно окружен или покрыт поверхностным слоем или покрытием из относительно податливого материала, такого как уретан, который обеспечивает опорную поверхность, по которой можно производить рез, не повреждая различные компоненты, находящиеся на матрице. Таким образом, во время нормальной работы полиуретановый вал, как правило, вращается синхронно с соседним цилиндром для высечки.

4. Лезвия для обрезки боковой кромки ротационной высекальной машины
Штамповочная форма включает в себя ряд ножей для высечки, которые надежно закреплены в штамповочной матрице так, что режущие кончики лезвий выступают и проходят в целом наружу и в сторону от поверхности цилиндра штамповочной матрицы. Лезвия для обрезки боковой кромки обычно проходят вокруг области штамповочной формы. Например, лезвия для обрезки боковой кромки включают в себя одно или несколько ведущих лезвий, таких как показано на рис. 2 и 2А.
Лезвия для обрезки боковой кромки отрезают небольшие кусочки с внешнего края гофрированного картона. В результате всех этих манипуляций заготовка гофрированного картона превращается в продукт.
5. Устройство для удаления обрезков
Устройство для удаления обрезков расположено рядом с лезвиями для обрезки боковой кромки, с внешней стороны лезвий для обрезки боковой кромки. Оно предназначено для захвата отрезанных частей гофрокартона и отделения от основной части заготовки из гофрокартона. Устройства для удаления обрезков могут принимать различные формы. Они обычно изготавливаются из упругого материала, например, уретана, имеющего имеющий твердость 85 по шкале Шора и плотность примерно 45 г/см3.
6. Процесс ротационной высечки
В обычных вращающихся режущих штампах устройства для удаления обрезков имеют тенденцию прогибаться. Когда штамповочная форма вращается и съемники обрезков прижимают обрезки, а также соединяются с полиуретановым валом, съемники обрезков имеют тенденцию прогибаться, оставляя зазор между устройством для удаления обрезков и внешней стороной лезвий для обрезания кромки. Это приводит к тому, что внутренняя сторона устройства для удаления обрезков отходит от соседнего лезвия для обрезки кромки. Часто в результате этого между лезвием для обрезки кромки и устройством для удаления обрезков остается зазор. Со временем небольшие кусочки обрезков имеют тенденцию застревать между лезвием для обрезки кромки и соседним съемником обрезков. Это приводит к тому, что к лезвию и, в конечном итоге, к форме прикладывают значительные силы, что часто приводит к повреждению штампа.
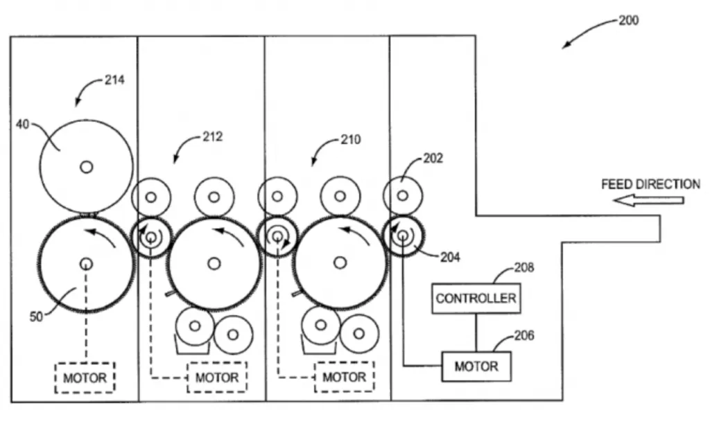
Машина для флексографической печати и высечки

202.204 валы 210.первая станция печати 212.вторая станция печати 214.станция высечки
Машина для флексографской печати и высечки используется для печати и высечки гофрированного картона и включает в себя три основные рабочие станции. После второй станции печати расположена станция высечки. Станция высечки включает в себя ротационную высечку: поворотный цилиндр, опорный цилиндр и высекальный штамп. Выше первой печатной станции находится пара валовов. Вал 204 приводится в движение двигателем, управляемым через контроллер. Вал 204 имеет связанную с ним шестерню, которая эффективно приводит в движение компоненты первой станции печати. Первая станция печати включает в себя зубчатую сеть, которая приводит в движение вторую станцию печати, которая также имеет зубчатую сеть, управляющую высечкой.
Рабочий процесс флексографической печатной машины и высекальной машины
Гофрированный картон подается в захват между валами и проходит через станцию высечки, как правило, горизонтально. При этом печатные формы, переносимые печатными валами первой и второй печатных станций, печатают знаки, рисунки и т.д. на проходящем гофрированном картоне. Как только гофрированный картон покидает вторую станцию печати, он поступает на станцию высечки, а высекальный штамп и элементы на нем обрезают гофрированный картон, превращая его в готовый продукт.