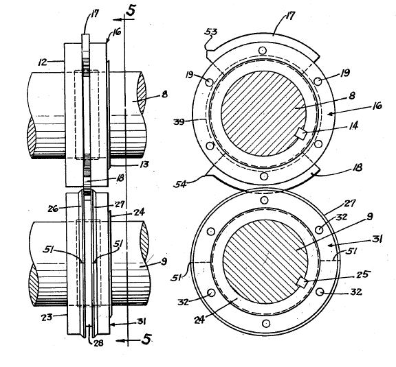
Верхняя головка (6), как лучше всего показано на рисунке 2, содержит корпус (12), имеющий ступичную часть (13), просверленную для приема вала (8), который неподвижно поддерживается на валу подходящей шпонкой (14) - рисунок нижк.

Корпус (12) имеет цилиндрическую часть, образующую радиальную поверхность (10), к которой пара ножей (17 и 18) крепится с помощью подходящего зажимного кольца или гайки (16), которая входит в резьбовое зацепление со ступицей корпуса (12) и может быть снабжены гнездами или выемками (19) для установки накидного ключа. При этом им можно легко манипулировать, чтобы закрепить ножи (17 и 18) на месте в головке (6) или освободить их от нее. Нож (17) предпочтительно закреплен в головке без возможности регулировки и удерживается в фиксированном положении с помощью подходящего дюбеля (21).
Нож (18) предпочтительно установлен с возможностью регулировки по окружности относительно ножа (17), при этом расстояние между ножами может изменяться в соответствии с конкретным размером обрабатываемых заготовок. Цилиндрическая поверхность (15) головки (12) и аналогичная цилиндрическая поверхность (22) зажимного кольца предпочтительно имеют одинаковый диаметр и служат поверхностями штампа для прижатия заготовок к зацеплению с биговальными штампами или элементами, которые будут описаны далее.
Нижняя головка (7) содержит часть, которая далее будет называться держателем (23) штампа. Держатель штампа имеет ступицу (24), установленную на валу (9) и удерживаемую от вращения на нем подходящей шпонкой (25). Пара кольцевых бигово-режущих элементов (26 и 27) установлены на ступице (24) держателя (23) матрицы и разнесены на заданное расстояние с помощью подходящей прокладки (28), ширина которой определяет пространство между режущими поверхностями ножей (17 и 18) и, следовательно, ширину прорези. Другими словами, за счет разнесения комбинированных бигово-высекающих элементов (26 и 27), как показано на рисунке 3, между ними создается канавка (29), приспособленная для приема режущих ножей (17 и 18), как показано на рисунке 2.
Объединенные бигово-режущие элементы (26 и 27) закрепляются в фиксированном положении на держателе (23) с помощью подходящего зажимного кольца или гайки (31), вставленных в резьбовое зацепление со ступицей (24) и имеющих гнезда (32) для установки подходящего гаечного ключа способом, аналогичным гайке (16).

Периферийные поверхности (33 и 34) держателя штампа и зажимное кольцо или гайка (31) соответственно служат поверхностями штампа и взаимодействуют с соответствующими поверхностями (15 и 22) головки (6), взаимодействуя в качестве элементов подачи заготовки и поддерживая заготовку при ее перемещении, проходит между головками (6 и 7), как показано на рисунке 2.

Корпус (12) имеет цилиндрическую часть, образующую радиальную поверхность (10), к которой пара ножей (17 и 18) крепится с помощью подходящего зажимного кольца или гайки (16), которая входит в резьбовое зацепление со ступицей корпуса (12) и может быть снабжены гнездами или выемками (19) для установки накидного ключа. При этом им можно легко манипулировать, чтобы закрепить ножи (17 и 18) на месте в головке (6) или освободить их от нее. Нож (17) предпочтительно закреплен в головке без возможности регулировки и удерживается в фиксированном положении с помощью подходящего дюбеля (21).
Нож (18) предпочтительно установлен с возможностью регулировки по окружности относительно ножа (17), при этом расстояние между ножами может изменяться в соответствии с конкретным размером обрабатываемых заготовок. Цилиндрическая поверхность (15) головки (12) и аналогичная цилиндрическая поверхность (22) зажимного кольца предпочтительно имеют одинаковый диаметр и служат поверхностями штампа для прижатия заготовок к зацеплению с биговальными штампами или элементами, которые будут описаны далее.
Нижняя головка (7) содержит часть, которая далее будет называться держателем (23) штампа. Держатель штампа имеет ступицу (24), установленную на валу (9) и удерживаемую от вращения на нем подходящей шпонкой (25). Пара кольцевых бигово-режущих элементов (26 и 27) установлены на ступице (24) держателя (23) матрицы и разнесены на заданное расстояние с помощью подходящей прокладки (28), ширина которой определяет пространство между режущими поверхностями ножей (17 и 18) и, следовательно, ширину прорези. Другими словами, за счет разнесения комбинированных бигово-высекающих элементов (26 и 27), как показано на рисунке 3, между ними создается канавка (29), приспособленная для приема режущих ножей (17 и 18), как показано на рисунке 2.
Объединенные бигово-режущие элементы (26 и 27) закрепляются в фиксированном положении на держателе (23) с помощью подходящего зажимного кольца или гайки (31), вставленных в резьбовое зацепление со ступицей (24) и имеющих гнезда (32) для установки подходящего гаечного ключа способом, аналогичным гайке (16).

Периферийные поверхности (33 и 34) держателя штампа и зажимное кольцо или гайка (31) соответственно служат поверхностями штампа и взаимодействуют с соответствующими поверхностями (15 и 22) головки (6), взаимодействуя в качестве элементов подачи заготовки и поддерживая заготовку при ее перемещении, проходит между головками (6 и 7), как показано на рисунке 2.